Microsoft patenta un altavoz Bluetooth conectado y con un asistente: ¿puede ser Cortana?

Microsoft patenta un altavoz Bluetooth conectado y con un asistente: ¿puede ser Cortana?
Sin comentarios Facebook Twitter Flipboard E-mail
jose-antonio-carmona

Jose Antonio Carmona

Editor Senior

El mercado de los altavoces inteligentes y conectados cada vez presenta más alternativas en el mercado. No sólo hablamos de empresas como Google, Apple o Amazon, sino que grandes firmas del continente asiático apuestan por conquistar un mercado cada vez más complejo a la par que atractivo. Sirvan de ejemplo Huawei, Xiaomi, Baidu...

Y de entre todas las grandes, hay una que no está presente. Se trata de Microsoft, firma que no cuenta con un altavoz propio pero tampoco con un asistente que tenga una presencia consistente. Cortana no ha terminado de explotar como muchos esperaban y su presencia en un altavoz se circunscribe al casi anecdótico Invoke de Harman Kardon. Sabemos que Cortana girará al ámbito empresarial, pero parece que Microsoft no ha dicho su última palabra si hacemos caso a esta patente.

¿Cortana de nuevo a escena?

Cortana

Y es que mientras que la empresa sí que ha lanzado al mercado auriculares conectados y compatibles con su asistente (ahí están los Surface Headphones 2 o los Surface Earbuds), el mercado de los altavoces con Cortana se presenta como un solar sin construir.

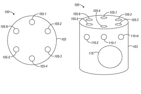
Ahora conocemos que Microsoft puede estar trabajando, según se muestra en una patente, en un altavoz conectado a la red, sin cables gracias al uso de Bluetooth y equipado con un asistente personal. Sin confirmar más datos en la patente, muchos piensan que Cortana sería el asistente elegido.

El altavoz integra, según la descripción de la patente, hasta seis micrófonos en la zona superior del dispositivo que estarían destinados a facilitar su uso por medio de órdenes verbales. En la imagen mostrada, el altavoz posee forma cilíndrica y en el frontal se intuyen lo que podrían ser unos sensores o cámaras. No hay más datos al respecto.

El futuro de Cortana lleva meses pintando en tonos oscuros. Primero llegó Alexa a Windows, más tarde Cortana desaparecía de algunas aplicaciones en Android, a la par que perdía prestaciones que provocaban las quejas de los poseedores de un altavoz Invoke. Incluso se ha llegado a rumorear sobre el desarrollo de un nuevo asistente.

Lo cierto es que dejando a un lado que una patente no tiene porqué hacerse realidad, tampoco está claro que de llegar a buen puerto, sea Cortana el asistente elegido. No queda más que permanecer atentos a cualquier noticia que se pueda dar.

Vía | Voicebot

Comentarios cerrados
Inicio